Montážní příručka
Montážní příručka
Vyberte prosím jednu nebo více kapitol ke stažení.
Obsah dokumentu

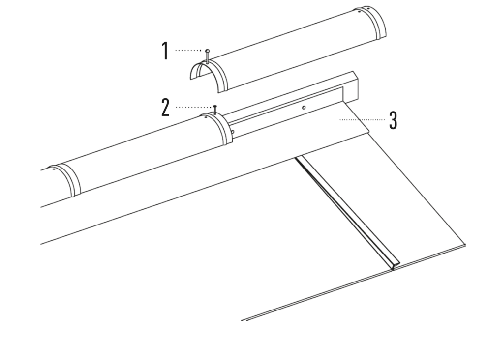
Podkladní pásy pro falcované tašky

Montáž podkladního pásu

Přesah podkladního pásu přes okapovou hranu by měl být v zadní třetině šířky žlabu a nesmí být větší než 80 mm.
Naměřte od plánované horní hrany první falcované střešní tašky 450 mm směrem k okapu (dbejte na to, aby přesah okapní hrany byl v rozmezí 30 až 80 mm). Označte ve vzdálenosti 150 mm (šířka podkladního pásu) zdola horní hranu podkladního pásu.

Tento postup opakujte na druhé straně okapové hrany a značky vodorovně spojte barevnou brnkací šňůrou.

Podkladní pás musí být přibit do všech malých vyražených otvorů, aby odolal případné vichřici. Podkladní pás připevněte ve všech malých vyražených otvorech hřebíky PREFA, které jsou součástí dodávky.

Upozornění

Čím přesněji provedete montáž podkladního pásu, tím snadnější bude následná odborná pokládka střechy PREFA.
Dbejte na to, aby podkladní pás byl instalován pod separační vrstvu.

PREFA podkladní pás

Montáž podkladního pásu

Přesah podkladního pásu přes okapovou hranu by měl být v zadní třetině šířky žlabu a nesmí být větší než 80 mm.
Montáž podkladního pásu se provádí rovně po celé délce okapové hrany za pomoci předem provedeného šňůrování.
Podkladní pás musí být přibit do všech malých vyražených otvorů, aby odolal případné vichřici.
Poté následuje vertikální šňůrování.
Podkladní pás připevněte ve všech malých vyražených otvorech hřebíky PREFA, které jsou součástí dodávky.

Upozornění

Čím přesněji provedete montáž podkladního pásu, tím snadnější bude následná odborná pokládka střechy PREFA. Jako pomůcka jsou pro příslušné střešní krytiny PREFA připraveny vyznačené značky (šňůrovací rozměry).

Dbejte na to, aby podkladní pás byl položen pod separační vrstvu (viz obrázek výše).

Zvláštnost u střešního panelu R.16 a střešního panelu FX.12

Zarovnejte podkladní pás podle středu střechy pomocí vylisovaných značek pro střešní panel R.16, resp. střešní panel FX.12.
Dbejte přitom, aby se oblast určená pro boční napojovací ohyb (např. pro napojení štítové lišty) nenacházela v oblasti drážky střešního panelu R.16 resp. střešního panelu FX.12. Podkladní pás případně o jednu čtvrtinu rozměru střešního panelu R.16 resp. střešního panelu FX.12 posuňte.

Zvláštnost u falcované šablony 29 × 29 a falcované šablony 44 × 44

Zarovnejte podkladní pás podle středu střechy pomocí vylisovaných značek.
Dbejte přitom, aby se oblast určená pro boční napojovací ohyb (např. pro napojení štítové hrany) nenacházela ve středu falcovaných šablon 29 × 29, resp. 44 × 44
. Podkladní pás případně o jednu čtvrtinu rozměru falcované šablony 29 × 29 resp. 44 × 44 (1/4 rozměru vertikálního šňůrování) posuňte.

Provedení štítové hrany a boční napojení

  • Ohněte střešní krytinu PREFA o 30 mm kolmo k ploše střechy (obr. 1).
  • Pevně nakotvěte originální podkladní upevňovací pás (profil „Z“) tak, aby jeho horní okraj byl ve stejné úrovni jako horní hrana štítového prkna. Připevnění musí být odolné proti vichřici (obr. 2).
  • V oblastech s vydatným sněžením je třeba provést štítovou hranu podle obrázku 3.
  • Provedení štítové hrany se zvýšeným štítovým prknem realizujte ve variantě zobrazené na obrázku 4.

Zvláštnost u střešního panelu R.16 a střešního panelu FX.12

V oblasti bočního zdvihu vyřízněte horní patentovou drážku tak, aby zůstala háková drážka (obrázek 1 a 2), a ohněte střešní panel R.16 nebo střešní panel FX.12 o 30 mm v pravém úhlu vzhledem k ploše střechy.

Zvláštnost u falcovaného šindele

U každého levostranného bočního zdvihu falcovaných šindelů (závětrná lišta a lemování komínu) je pro zamezení kapilárního vzlínání nutno vyříznout drážku směřující šikmo směrem dolů.

  • Označte oblast ohybu a 30 mm přídavek na drážku (obr. 1).
  • Odstřihněte část šindele s přídavkem na drážku (obr. 2).
  • Proveďte vyříznutí drážky (obrázek 3 a 4).
  • Položte vyříznuté falcované šindele a ohněte okraj (obrázek 5 a 6).

Varianty se zkráceným šindelem nebo šindelem pro napojení

Dalšími variantami provedení je vložení na stavbě vyrobeného zkráceného šindele nebo objednaného šindele pro napojení tak, aby šikmá část šindele nezasahovala do oblasti zdvihu.

Varianta 1 Zkrácené falcované šindele
Poslední falcovaný šindel před svislým ohybem zkraťte a položte (obrázek 7 a 8).

Varianta 2 Falcovaný šindel pro napojení
Namontujte falcovaný šindel pro napojení, nařežte s přídavkem pro drážku 30 mm a ohněte (obrázek 8 a 9).

Odborné provedení detailu zajistí spolehlivou ochranu před deštěm.
Po úpravě falcovaných šindelů může být provedeno napojovací oplechování (např. štítové lemování nebo stěnové lemování) a zapracováno do celkového pokrytí střechy.

Zvláštnost u falcovaného šindele DS.19

U každého levostranného bočního zdvihu falcovaných šindelů DS.19 (závětrná lišta a lemování komínu) je pro zamezení kapilárního vzlínání nutno vyříznout drážku směřující šikmo směrem dolů.

  • Označte oblast ohybu a 30 mm přídavek (obr. 1).
  • Proveďte vyříznutí drážek (obrázek 2 a 3).
  • Položte vyříznuté falcované šindele DS.19 a ohněte okraj (obrázek 4 a 5).

Varianta falcovaný šindel DS.19 pro napojení

Variantou provedení je vložení objednaného falcovaného šindele DS.19 pro napojení tak, aby šikmá část šindele nezasahovala do oblasti ohybu.

  • Falcovaný šindel DS.19 pro napojení zavlékněte a na ohybu spodního šindele označte šikmo probíhající drážku (obr. 6).
  • Kolem značky vystřihněte hranu do obloučku (obr. 7).
  • Falcovaný šindel DS.19 pro napojení zavlékněte a připevněte (obr. 8).
  • Proveďte zdvih krytiny pro boční napojení. Obrázek 9 a 10:

Upozornění

Falcovaný šindel DS.19 pro napojení není určen pro kompletní pokrytí střechy.
POZOR: Zkracování falcovaného šindele  DS.19 není kvůli nebezpečí kapilární vzlínavosti možné.

Odborné provedení detailu zajistí spolehlivou ochranu před deštěm.
Po přípravě falcovaných šindelů DS.19 může být provedeno napojovací oplechování (např. obložení okraje nebo stěnové lemování) a zapracováno do celkového pokrytí střechy.

Zvláštnost u falcované šablony 29 × 29

U každého bočního zdvihu falcované šablony 29 × 29 (závětrná lišta a lemování komínu) je nutno drážky směřující šikmo směrem dolů na spodní straně vystřihnout a vyhnout.

  • Označte oblast ohybu a 30 mm přídavek na drážku
  • Odstřihněte část falcované šablony 29 × 29 s přídavkem pro drážku a vytvořte drážku (obr. 1).
  • Nastřižením a vyhnutím vyrobte jazýček (obr. 2).
  • Vyříznutou falcovanou šablonu 29 × 29 položte a ohněte okraj (obrázek 3 a 4).

Odborné provedení detailu zajistí spolehlivou ochranu před deštěm.

Po přípravě falcovaných šablon 29 × 29 může být provedeno napojovací oplechování (např. štítové obložení nebo stěnové lemování) a zapracováno do celkového pokrytí střechy.

Zvláštnost u falcované šablony 44 × 44

U každého bočního zdvihu falcované šablony 44 × 44 (závětrná lišta a lemování komínu) je nutno drážky směřující šikmo směrem dolů na spodní straně vystřihnout a vyhnout.

  • Označte oblast ohybu a 30 mm přídavek na drážku
  • Odstřihněte část falcované šablony 44 × 44 s přídavkem pro drážku a upravte drážku (obr. 1).
  • Nastřižením a vyhnutím vyrobte jazýček (obr. 2).
  • Šikmou patentovou drážku je třeba na horní straně v oblasti bočního zdvihu upravit odebráním přebytečného materiálu (obr. 3).
  • Vyříznutou falcovanou šablonu 44 × 44 položte a ohněte okraj (obrázek 4).

Odborné provedení detailu zajistí spolehlivou ochranu před deštěm.
Po přípravě falcovaných šablon 44 × 44 může být provedeno napojovací oplechování (např. štítové obložení nebo stěnové lemování) a zapracováno do celkového pokrytí střechy.

Provedení úžlabí

Varianta s bezpečnostním úžlabím

1 Falcovaná taška
2 pojistná hydroizolace
3 příponka

4 úžlabní plech
5 vybedněné úžlabí

U bezpečnostního úžlabí se jedná o doporučení firmy PREFA.
V zásadě o jeho případném použití rozhoduje klempíř na základě svých zkušeností a odbornosti. PREFA bezpečnostní úžlabí poskytuje oproti klasickým jednoduchým úžlabním plechům zvýšenou ochranu před vzdutou vodou v citlivých oblastech střešních úžlabí.


Výhody PREFA bezpečnostního úžlabí:

  • bezpečnější proti zatečení při vzdutí vody díky přídavné drážce
  • průmyslově přesně vyrobený PREFA produkt
  • snadné vzájemné napojení zasunutím díky speciální úpravě konců
  • prolisy v oblasti přesahu přerušují kapilární vzlínání
  • zvýšená tuhost zaručuje lepší pochůznost

Varianta s ručně vyrobeným úžlabním plechem

1 Falcovaná taška
2 pojistná hydroizolace
3 příponka

4 úžlabní plech
5 vybedněné úžlabí

  • Úžlabní plech ohýbejte do maximální délky 3 000 mm.
  • Boční vodní drážku úžlabí oboustranně ohněte v šíři 40 mm.
  • Rozvinutá šířka plechu závisí na tvaru střechy, jejím sklonu a místních podmínkách a neměla by být menší než 500 mm.
  • U nesouměrných střech se značně rozdílným sklonem, resp. s výrazně rozdílným množstvím odváděné vody, je třeba počítat se zapuštěným úžlabím nebo s provedením stojaté drážky uprostřed úžlabí.

Napojení úžlabí

  • U napojení úžlabí se přidávaná střešní krytina PREFA narýsuje ve vzdálenosti cca 35 mm a ořeže se (obrázek 1 a 2).
  • Narýsovaný závěsný falc se zpětně ohne (obrázek 3).
  • Zhotovená střešní krytina PREFA se zavěsí a položí (obrázek 4).

Zvláštnosti u falcované střešní tašky

Falcované střešní tašky pokládejte vždy směrem k úžlabí. Tím se zabrání nadzvednutí překrývající vlny ve spoji tašek při sesuvu sněhu a ledu v oblasti úžlabí.

  • Tašku vyrovnejte, narýsujte vnitřní hranu vodní drážky úžlabí, přidejte cca 35 mm a tašku zastřihněte (obr. 1).
  • V místě ohybu hrany tašky sklepněte vlnu a proveďte zpětný ohyb 180°. Poté vložte desku a ukotvěte ji pomocí příponek (obrázek 2 a 3).
  • Protože u hrany přehybu došlo sklepnutím vlny k prodloužení, je nutno pomocí zkoseného dřevěného kolíku vyklepat vlnu zpět do původního stavu. Tím se zabrání deformaci tašky (obr. 4).

Specifika falcovaného šindele a falcovaného šindele DS.19

Upozornění

Při pokládce falcovaných šindelů a falcovaných šindelů DS.19 je třeba se vlevo od úžlabí bezpodmínečně vyhnout vzniku průsečíku (krytina nesmí mít tvar trojúhelníku).

Falcovaný šindel

Když průsečík úžlabí/spáry šindele vlevo splývá s úžlabím, je třeba u falcovaných šindelů předem vyrobit a namontovat zkrácený falcovaný šindel (1), popř. falcovaný šindel pro napojení (1).

Falcovaný šindel DS.19

Když průsečík úžlabí/spáry šindele vlevo splývá s úžlabím, je u falcovaných šindelů DS.19 nutné předem namontovat falcovaný šindel DS.19 (1).
Zkracování falcovaného šindele  DS.19 není kvůli nebezpečí kapilární vzlínavosti možné.

Zvláštnost u střešního panelu R.16 a střešního panelu FX.12

  • Když průsečík úžlabí/spáry desek splývá, je třeba předem vyrobit a namontovat prvek pro napojení (obrázek 1).
    Upozornění: U řemeslně zhotoveného úžlabí tento průsečík nesmí vzniknout (krytina nesmí mít tvar trojúhelníku).
  • Aby se průsečíku zabránilo, zhotovte prvek pro napojení z celého střešního panelu R.16 nebo ze střešního panelu FX.12 (obrázek 2 a 3).
    POZOR: Velikost prvku pro napojení zvolte tak, aby nebyla negativně ovlivněna pravidelnost pokládky sněhových háků. Přesná montáž je zřetelně viditelná podle vyrovnaných sněhových háků.

Upozornění

Při použití PREFA bezpečnostního úžlabí může být napojení úžlabí provedeno s průsečíkem úžlabí/styk panelů.

provedení nároží a hřebene

V závislosti na konstrukci střechy a její funkčnosti existují různé možnosti provedení.

Jet-Lüfter

Jet-Lüfter lze použít u střech se sklonem v rozmezí 12–55°.
Originální odvětrávací hřebenáč Jet-Lüfter je dvouplášťový a tvoří jej děrovaná a krycí část. Oboustranně má rozšíření pro překrytí krytiny, přesto však pro vytvoření deštitěsného ukončení krytiny zvedněte její konce 40 mm.
Poslední (v případě potřeby nařezanou) řadu desek ukotvěte pomocí zpětné příponky, přímým kotvením z boku na vrcholu vlny podkladní vlny (u PREFA falcovaných tašek) nebo přímým kotvením nad pěnovým klínem odvětrávacího hřebene Jet-Lüfter.

Montáž

  • Poslední řadu krytiny upravte tak, aby mezi protilehlými stranami vznikla větrací mezera 80 mm. Na PREFA krytině proveďte svislý zdvich 40 mm (obr.1).
  • Při montáži jednotlivých hřebenáčů Jet-Lüfter dodržujte dilatační mezery cca 5 mm. Ochranný pásek z těsnícího klínu sejměte v délce cca 50 mm a těsnící klín vyhněte ven. (obr. 2).
  • Obě spojovací krytky srovnejte symetricky na střed a ukotvěte je vždy jedním PREFA nýtem Ø 4,1 mm jako fixní bod (obr. 3).
  • Těsnící klín dolepte pod spojovací krytky těsnící plochou, ze které byl již sejmut ochranný pásek. Pak ochranný pásek zcela odstraňte (obr. 4).
  • Hřebenáče připevněte přibalenými PREFA nerezovými vruty s těsnicí podložkou (délky 60 mm) s odstupem cca 600 mm (obr. 5).
    Poznámka:
    U falcovaných tašek se nerezové vruty s těsnicí podložkou šroubují vždy do vrcholu vlny.
    — U falcovaných šindelů a šablon neumisťujte kotvení do šikmého zavěšovacího falce.
    U střešních panelů FX.12 a R.16 neumísťujte vruty do oblasti svislých úhlových drážek.
  • Návrh pro montáž ukončovacího prvku odvětrávacího hřebene Jet-Lüfter (obr. 6).
    TIP: Nejdříve namontujte na okraji krycí plech a zvedněte 30 mm pro štítové lemování, poté štítové lemování instalujte.
  • Nasaďte ukončovací prvek hřebenáče a přinýtujte ho (obr. 7).
  • Příklad: provedení ukončení na nároží (obr. 8).

Upozornění

Dbejte na to, aby pěnový klín přiléhal po celé délce těsně ke střešní krytině.

Upozornění

Při umisťování odvětrávacích prvků na straně hřebenu u jednoplášťových střešních konstrukcí nelze zcela vyloučit pronikání poletujícího sněhu.

Sedlový vikýř

Při napojení odvětrávacího hřebene Jet-Lüfter k úžlabí je třeba odvětrávací hřeben Jet-Lüfter utěsnit ukončovacím prvkem a musí být provedeno tak, aby se do odvětrávacího hřebene Jet-Lüfter nedostala srážková voda z hlavní střešní plochy.

Provedení nároží a hřebene s malými hřebenáči

Pro ochranu střechy před zafoukáním prachového sněhu je bezpodmínečně nutné v oblasti nároží a hřebene krytinu PREFA minimálně 40 mm zvednout.
Je-li poslední řada krytiny úzká, lze ji nahradit plechovým pásem PREFALZ.

TIP: Pro docílení přesné linie připevnění hřebenáčů si na hřebenové lati pomocí brnkačky označte střed.

Upozornění

Hřebenáče nastřihněte přesně do tvaru vln resp. drážek krytiny.

1 vrut s těsněním

2 hřebík

1 vrut s těsněním
2 hřebík

3 přední díl oplechování

Příklad provedení nároží/hřebene

  • Oba malé hřebenáče probíhající přes vrchol nároží upravte tak, aby se překryly cca 10 mm a pak je přišroubujte k nárožním a hřebenové lati (obr.1).
  • Poté vezměte polovinu malého hřebenáče a vystřihněte z něj základní tvar, aby překryl střih obou spodních hřebenáčů. Pomocí speciálních krepovacích kleští vytvarujte konečnou podobu krycí tvarovky (obr. 2).
  • Po připevnění takto upraveného malého hřebenáče k hřebenové lati pokračujte v montáži dalších malých hřebenáčů (obr.3).

Zvláštnost u falcované tašky

Při montáži průběžného pásu PERFALZ (obr. 68) u falcovaných tašek je nutno horní ležatou drážku tašek upravit tak, aby bylo možné zavléknout rovný plech.

  • V místě vrcholu vlny tašky proveďte zástřih a pomocí lopatky přeložníku drážku přizvedněte (obrázek 1 a 2).
  • Kladívkem vlnu vyrovnejte do plochy a vytvořte rovnoměrný zpětný ohyb. U vlny styku tašek není zástřih nutný (obr. 3).
  • Nyní můžete přední díl lemování bez problémů zavléknout (obr. 4).

Zvláštnost u falcované šablony 29 × 29 a falcované šablony 44 × 44

V případě montáže průběžného pásu PREFALZ je u falcovaných šablon  29 × 29 nebo 44 × 44 třeba použít ukončovací (hřebenové) šablony. Ty vytvoří vodorovný závěsný falc.

Mezi ukončovacími (hřebenovými) taškami pro falcovanou šablonu 29 × 29 je třeba namontovat dodaný příponek (1).

Jednoduché provedení hřebene se závěsným falcem

Po nařezání krytiny PREFA zhotovte závěsný falc.

Zvláštnost u falcovaných tašek

Po nařezání falcované tašky se středová rýha opatří stlačovaným falcem, aby se vytvořil závěsný falc. Záhyb lze udělat pomocí falcovacích kleští nebo krepovacího strojku.

Provedení hřebene ze svitkového plechu

Jednoduchý hřeben ze svitkového plechu lze použít tehdy, pokud je vzdálenost mezi střešní krytinou PREFA a vrcholem hřebene menší než 150 mm a není nutné odvětrání.

Vytvoření střešního odskoku

Falcovaná taška

Vytvoření odskoku se provede pomocí dvou podkladních pásů.

1. Podkladní pásy pro falcované tašky

2 Podkladní pás z hliníku – krátký

  • První podkladní pás (1.806 × 150 mm) připevněte jako obvykle a založte první řadu tašek.
  • Druhý podkladní pás krátký (s vlnami) připevněte nad první řadu tašek v úrovni zavléknutí průběžné řady tašek. Vložte dle podmínek stavby těsnicí pás, aby vznikla spára pro závěsný falc nad ním umístěné falcované tašky (obr. 1).
  • Další řadu falcovaných tašek pak lze položit v celé šíři (obr. 2).

Střešní panel R.16 a střešní panel FX.12

  • Označte přesah 30 mm a střešní panel R.16 / střešní panel FX.12 zastřihněte (obr.1).
  • Horní drážku v délce cca 200 mm vystřihněte (obr. 2).
  • Horní závěsný falc se souvisle ohne vzhůru (obr. 3).
  • Proveďte boční zdvih 30 mm a zafalcujte štítovou lištu (obr. 4).
  • Střešní panel R.16/střešní panel FX.12 označte dle odskoku střechy, přidejte přídavek na zpětný ohyb a zastříhněte (obr. 5).
  • Položte nařezaný střešní panel R.16 / nařezaný střešní panel FX.12 (obr. 6).
  • Oba střešní panely R.16 / střešní panely FX.12 se společně zafalcují a v oblasti zavěšení se falc přehne (obr. 7).
  • Oblast zavěšení znovu ohněte a ukotvěte patentovanou příponkou (obr. 8).
  • Navazující řada střešních panelů R.16 / střešních panelů FX.12 může být položena v celé šířce (obr. 9).

Falcovaný šindel a falcovaný šindel DS.19

  • Jestliže odskok střechy vyžaduje první řadu se zkrácenými šindeli, je třeba falcované šindele / falcované šindele DS.19 upravit (obr.1).
  • Navazující řada šindelů pak může být položena v celé šířce (obr. 2).
  • Hotové pokrytí střešního odskoku (obr. 3).

Falcovaná šablona 29 × 29 a falcované šablona 44 × 44

U střešních odskoků s falcovanou šablonou 29 × 29, resp. 44 × 44 je nutné zpravidla zhotovit přizpůsobené oplechování okapní hrany. Díky tomu lze začít se startovací šablonou falcovaná šablona 29 × 29 nebo 44 × 44 (obr. 1A a 1B).

Varianta A: Horizontálně probíhající drážka

Navazující řada falcovaných šablon pak může být položena v celé šířce (obr. 2A a 2B).

Varianta B: Vertikálně probíhající drážka

Finálně položený střešní odskok (obr. 3A a 3B).

Napojení na nástřešní žlab

Podkladní pás 1.806 × 150 mm upravte dle tohoto schématu (2 ohyby).